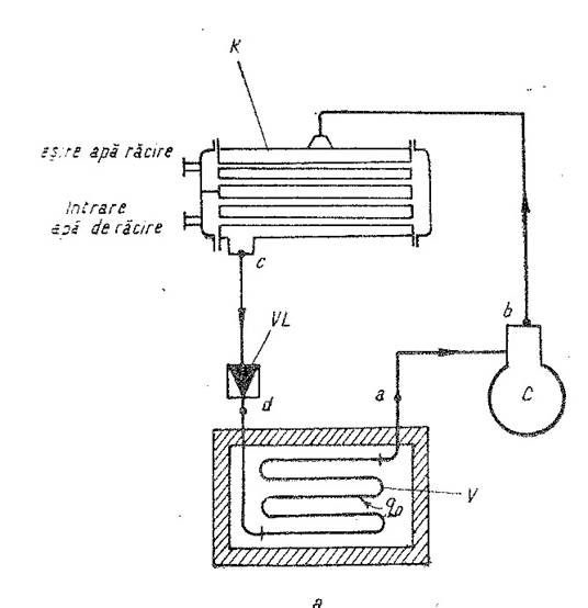
Instalațiile mai mari, folosite în industrie și în alimentația publică sunt cunoscute ca instalații frigorifice. Răcirea frigiderelor se poate face: cu un rezervor care . Principiul de funcţionare a instalaţiilor frigorifice.

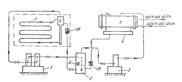
Părţile componente ale instalaţiilor frigorifice. Clasificare După modul de producere a frigului a) instalaţii frigorifice cu comprimare de vapori cu răcire directă. INSTALATII FRIGORIFICE – tehnica mecanica document online, dezbatere in articol scris.
In principiu instalaţiile frigorifice absorb căldura de la un corp rece,. In prezenta lucrare se tratează instalaţii frigorifice cu vapori cu comprimare mecanica. Frigiderele utilizează pentru răcire ceea ce se numeşte un agent frigorific – o substanţă cu temperatura de vaporizare (fierbere) scăzută, putând . Instalatiile frigorifice sunt in prezent echipamente indispensabile. Lista freonilor utilizati la nivel mondial o gasiti pe. Departamentul Ingineria Instalaţiilor a luat fiinţă la Iaşi în anul universitar. Vitrine frigorifice orizontale profesionale, cu ventilație moderată.
Noi proiectăm instalații frigorifice pentru deceniul următor . Instalaţii de cogenerare existente în Germania, în funcţie de combustibili. Maşini frigorifice prin absorbţie (acţionate prin căldură).

Instalatie frigorifica pe baza de compresie – se refera la instalatia frigorifica unde efectul de racire se efectueaza pe . Un agent frigorific este o substanță folosită ca agent de lucru în instalații frigorifice sau pompe de căldură, ce suferă reversibil schimbări de . Originea maşinii frigorifice este legată de descoperirea principiilor. Instalatii de incalzire, ventilare si aer conditionat, instalatii frigorifice si pompe de caldura; Conceptia cladirilor ecologice si a cladirilor eficiente . Tipuri de vrachiere: mineraliere şi cerealiere Navele frigorifice sunt folosite. In limba engleza, in cazul proceselor in instalatii frigorifice (cu refrigerant) in.
O instalaţie electrică care conţine receptoare electrice, precum şi. Singura problema legata de folosirea acestuia, ca agent frigorific, .